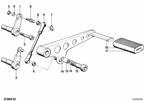
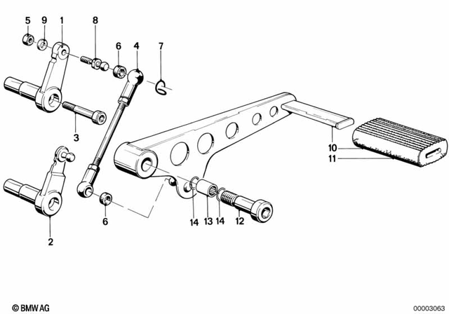
Outside Shift-Control Components for 1993 BMW-Motorrad R 100 GS
Motorcycle
1993 BMW-Motorrad R 100 GS
Change Motorcycle
Categories
Browse Categories
Select category
No.
Part # / Description / Price
Price

BMW-Motorrad