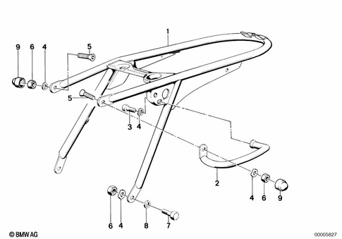
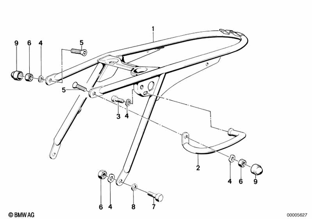
Motorcycle Frame for 1996 BMW-Motorrad R 100 RT
Motorcycle
1996 BMW-Motorrad R 100 RT
Change Motorcycle
Categories
Browse Categories
Select category
No.
Part # / Description / Price
Price
No.
Part # / Description / Price
Price

BMW-Motorrad